Conçue pour une fiabilité optimale, la pompe centrifuge auto-amorçante à accouplement direct ZXL assure un fonctionnement sans entretien et un amorçage automatique efficace. Solution polyvalente, elle convient à une large gamme d'applications, du transfert d'eau en agriculture à la manutention des fluides industriels.
Numéro d'article :
ZXLCommande (MOQ) :
1Paiement :
L/C T/T westernunion Alipay PaypalOrigine du produit :
ChinaCouleur :
CustomizedPort d'expédition :
shanghai shenzhen guangzhouDélai de mise en œuvre :
please contact CP +8613696510409Poids :
please contact 504893184@qq.comEmballer :
CustomizedMatériel :
Cast iron/Stainless steelPompe centrifuge auto-amorçante à couplage direct
La série de pompes auto-amorçantes à connexion directe ZXL est un produit innovant, fruit de l'utilisation de technologies de pointe nationales et internationales. Réalisation pionnière en Chine, elle se compare aux meilleures normes internationales grâce à ses performances techniques, démontrant ainsi un potentiel d'application important et des perspectives de marché prometteuses.
Avantages du produit
Conçue pour optimiser le transfert de fluides dans les environnements difficiles, la pompe à accouplement direct ZXL simplifie l'installation. Sa conception innovante ne nécessite ni clapet anti-retour ni clapet de pied et assure un auto-amorçage fiable avec un minimum de fluide. Compacte et sans vibrations, elle présente un encombrement réduit de 30 %, des joints en carbure de tungstène résistants à l'usure et un moteur IP54, ce qui en fait la solution idéale et nécessitant peu d'entretien pour les applications industrielles et agricoles en extérieur.
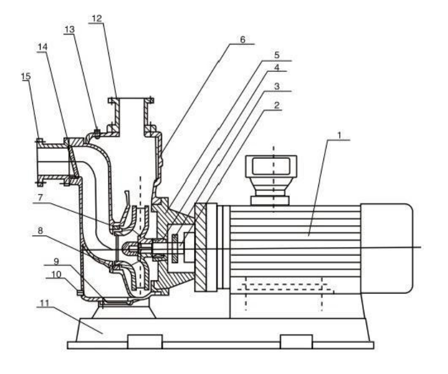
Diagramme structurel

| 1 | Moteur | Transmission de puissance directement couplée à la pompe. Utilise des moteurs de marque (le modèle CYZ-AL est équipé de moteurs antidéflagrants). |
| 2 | Arbre de pompe | Coaxial au moteur. Conception à arbre allongé assurant une concentricité optimale pour un fonctionnement silencieux et sans vibrations. Chromé pour une durabilité accrue. |
| 3 | Anneau déflecteur d'eau | Empêche le noyage du moteur dû à une fuite du joint d'étanchéité. |
| 4 | Joint mécanique | Fabriqué en acier inoxydable, carbure de tungstène et caoutchouc fluoré. Sa conception équilibrée, résistante aux hautes températures et à la pression, garantit un fonctionnement sans fuite, une usure nulle de l'arbre et l'absence d'entartrage. |
| 5 | Couvercle de pompe | Relie le corps de la pompe et le moteur. |
| 6 | Corps de pompe | Conçu avec des chambres hydrauliques optimisées (refoulement/aspiration/séparation gaz-liquide). Comprend des pieds de fixation pour une installation stable. |
| 7 | Turbine | Conception hydraulique à haut rendement pour des performances fiables. |
| 8 | Joint torique | Assure l'étanchéité du joint entre la turbine et le corps de la pompe. |
| 9 | Plaque de recouvrement inférieure | Permet l'élimination des sédiments lorsqu'il est ouvert. |
| 10 | Bouchon de vidange | Évacue le liquide résiduel en cas d'inactivité prolongée de la pompe. |
| 11 | plaque de base | Assure la liaison structurelle et facilite l'installation de l'isolateur de vibrations. |
| 12 | Buse de refoulement | Se raccorde aux canalisations d'évacuation. |
| 13 | Valve de remplissage d'eau | Remplit le liquide de la cavité lorsque celui-ci est insuffisant. |
| 14 | Clapet anti-retour | Empêche le reflux lors de l'arrêt de la pompe. |
| 15 | Buse d'entrée | Se raccorde aux canalisations d'admission. |