La pompe verticale LW à fonctionnement continu assure une gestion efficace des eaux usées contenant des matières solides, et ce, sans problème pour les applications industrielles. Sa conception verticale permet un gain de place et évite les obstacles.
Numéro d'article :
LWCommande (MOQ) :
1Paiement :
Alipay PayPal westernunion T/T L/COrigine du produit :
ChinaCouleur :
CustomizedPort d'expédition :
shanghai shenzhen guangzhouDélai de mise en œuvre :
please contact 504893184@qq.com or CP +8613696510409Emballer :
CustomizedMatériel :
Cast ironPompe à eaux usées verticale anti-colmatage
Notre entreprise a créé trois gammes de produits principales qui composent la série LW (WL) de pompes verticales pour eaux usées. Ces pompes ont été modifiées pour répondre à divers besoins d'utilisation et situations d'exploitation, en s'appuyant sur le modèle hydraulique de la série de pompes submersibles pour eaux usées WQ (anciennement QW). Depuis son lancement, la série LW s'est imposée sur le marché grâce à sa conception innovante et à sa fiabilité.
Application du produit
Ce produit convient à de nombreuses applications : stations de rejet des eaux usées en zones résidentielles, systèmes de drainage des stations d’épuration urbaines, stations de drainage des systèmes de défense aérienne civile, installations d’adduction d’eau des stations de traitement, rejet des eaux usées dans les hôpitaux et les hôtels, chantiers de travaux publics, équipements de soutien à l’exploitation minière et à l’exploration, digesteurs de biogaz ruraux et irrigation agricole. Il est capable de transporter de l’eau claire, des fluides corrosifs, des eaux usées et des déchets contenant des particules solides.
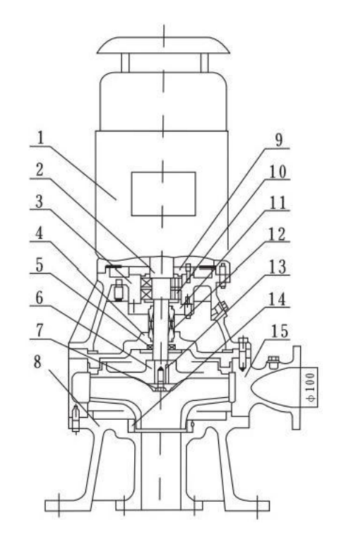
Diagramme structurel

| 1 | Moteur |
| 2 | rallonge d'arbre |
| 3 | Logement de palier |
| 4 | Couvercle de pompe |
| 5 | Joint d'huile |
| 6 | Turbine |
| 7 | Écrou de turbine |
| 8 | Base |
| 9 | Couvercle de roulement |
| 10 | Palier |
| 11 | siège de joint mécanique |
| 12 | Joint mécanique |
| 13 | Clé |
| 14 | anneau d'usure du corps de pompe |
| 15 | Corps de pompe |